首页>产品>防烫阀
型号 |
接口 | (打开/关闭)温度 | 最高工作温度 | 最大工作压力 | 尺寸 | 净重 | 流量 | |||||
°C | °C | MPa | PSI | mm | g | Cv | ||||||
SP68-105 | 1/2” | 41--35 | 120 | 1.0 | 145 | Φ32*107 | 460 | 0.6 | ||||
SP68-100 | 1/2” | 38--32 | 120 | 1.0 | 145 | Φ32*107 | 460 | 0.6 | ||||
SP68-95 | 1/2” | 35--29 | 120 | 1.0 | 145 | Φ32*107 | 460 | 0.6 | ||||
* 不锈钢壳体,感温元件
* 感温范围窄
* 柱塞式阀芯
* 体积小,反应灵敏
* 只对水温敏感
* 不受系统压力影响
* 管螺纹安装,简单方便
* 安全可靠,排水量小
应用
太阳辐射或过热现象(蒸汽和电伴热导致的)会造成淋浴器使用点水温非常高,从而使工厂员工处于安全风险之下。当安装紧急淋浴器、洗眼器和其它设备出现暴晒和过热时,防烫阀也会随管路系统升温。此时阀门会自动打开直到过热的水流净后逐渐关闭,过热的水流净后自动关闭。

工作状态
当感温器感知水温达到41℃(105℉)时, SP68-105 会完全打开放水。只要水温保持在35℃(95℉)以上,阀门将一直处于开启状态。防烫阀安装处于标准水流方向时,感温器感知水温;处于反向水流方向时,感温器感知环境温度。

安装说明
FP 防冻阀完全打开的温度为产品标明的温度,完全关闭温度高于完全关闭温度5℃。SP防烫阀成相反动作。完全打开的温度为产品标明的温度,完全关闭温度低于完全关闭温度5℃。
阀门流量请查阅产品性能指标。阀门安装不要低于系统流量要求。
防冻阀可以在伴热系统失效时,作为水系统防冻保护的备用装置。也可以在无伴热的系统里,作为水系统主导的防冻保护装置。
防冻阀要装在较低的水位处或者水流静止,管路转弯,盲管区等容易形成积水的地方。出水口的管路要尽量短,排水管路或下水道直径要尽量大。避免形成冰凌等使排水管路被冻住或者使排水不畅的情况。防冻阀优先考虑安装在靠近排水口的位置。这样可以防止防冻阀入水口之前的管路被冻。
水源或管路可以进行保温和/或者伴热,但不要用在阀体上进行保温和/或者伴热。
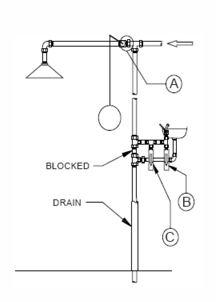
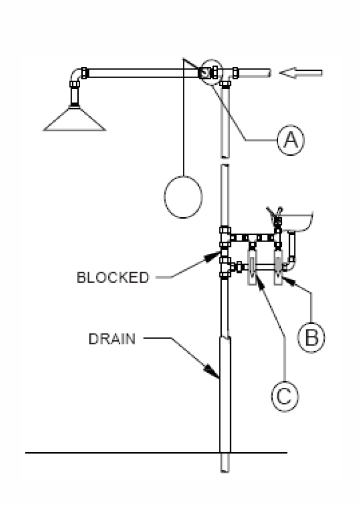
安装在紧急淋浴器/洗眼器上:
保持从入水管路到开关阀(见A)的管路距离尽量短。防冻阀安装也要尽量靠近开关阀(见B)。
注意:是水的流动避免管路被冻(即使是很短的盲管区在极端恶劣的条件下也有被冻住的可能)。防烫阀的安装是为了让过热的水从系统中流出。这可以保持紧急淋浴的水温适度。设备在太阳下暴晒是很多地区无法避免的。把阀门安装在距离使用的位置越近越好(见C)。不要把阀门装在阴凉处或者低于系统水温的位置。时刻记住防烫阀是受热开启。
![]()

注意
使用标准的适合的接口连接,接口不要太紧。
安装后使用前必须测试,在冬季或者夏季来临之前测试。
定期测试。
安装后在管路系统中运行测试:
防冻阀:用氟利昂、二氧化碳、冰水混合物对防冻阀进行降温冷却。防冻阀将会排水或滴水,直到温控器感知到水温上升后而自动关闭。
测试阀门设定温度:
防冻阀:将防冻阀从系统中拆下,放置在1℃的冰水混合物中,阀门在5分钟内完全打开。放入6℃ 以上的水中,阀门完全关紧。
防烫阀:将防烫阀从系统中拆下,放入热水中,热水温度高于阀门上限设定温度,阀门完全打开。