Home>Product>Anti Freeze Valve
Model | Port Size | Open~Close Temperature | Maximum Operating Temperature | Maximum Operating Pressure | Dimension | Net Weight | Flow Rate | |||||
°C | °F | °C | °F | MPa | PSI | mm | Inch | g | lb | Cv | ||
FP68-35 | DN15 | 1--4 | 33.8--39.2 | 120 | 248 | 1.0 | 145 | Φ32*107 | 1.26*1.26*4.21 | 460 | 1.014 | 0.6 |
FP68-45 | DN15 | 3--6 | 37.4--42.8 | 120 | 248 | 1.0 | 145 | Φ32*107 | 1.26*1.26*4.21 | 460 | 1.014 | 0.6 |
* Stainless body and thermal element
* Narrow temperature band
* Compact, low mass - Fast response
* Ram-type plug for reliable tight shut off
* Sensitive to temperature only
* Unaffected by pressure variations
* Easy installation with pipe wrench
* Discharges the minimum amount of water required to prevent freeze damage

Freeze Protection Valves are ideal for protection of piping, valves, fittings, pumps, condensate systems, safety showers, fire lines, spray nozzles, freeze sensitive equipment, or as backup protection on traced systems/equipment. The valve will open to establish flow until the freeze damage is eliminated and it will then modulate closed when the temperature goes up.

Operation
A thermostatic element inside the valve senses temperature and if this falls below 35°F (1.7°C) the valve modulates open allowing water to flow. The valve will remain open as long as the water flowing by the sensor is less than 40°F (4.4 C). However, when the water flowing by the sensor becomes greater than 40°F (4.4°C) the valve will close.
INSTALLATION INSTRUCTION
If installed and maintained as recommended, the WINNING THERMO CONTROL EQUIPMENT CO., LTD. SP valves and FP valves will yield reliable and trouble free service.
The FP valve is full open at its stated temperature and full closed approximately 5°C higher. The SP valve is reverse acting, and is also full open at its stated temperature, but is full closed at approximately 5°C below its stated temperature.
The valves’ flow rate please see the product specification sheets. Never undersize installations.
FP VALVES MAY SERVE AS PRIMARY PROTECTION ON UNTRACED SYSTEMS, OR AS A FAIL-SAFE BACKUP FOR TRACED WATER SYSTEMS:
Always place freeze valves at low points or where water will tend to be static or prone to accumulate or dead leg. Keep outlet piping short and discharge to a large diameter drain or ditch. Never create an “ice patch” hazard by discharging to a slab or walkway. A preferred method of installation is to place the valve close to the point of discharge and connect with a run of piping from the line to be protected to the inlet side of the FP valve. Source and inlet piping may be insulated and/or traced, but never insulate or trace the valve body.
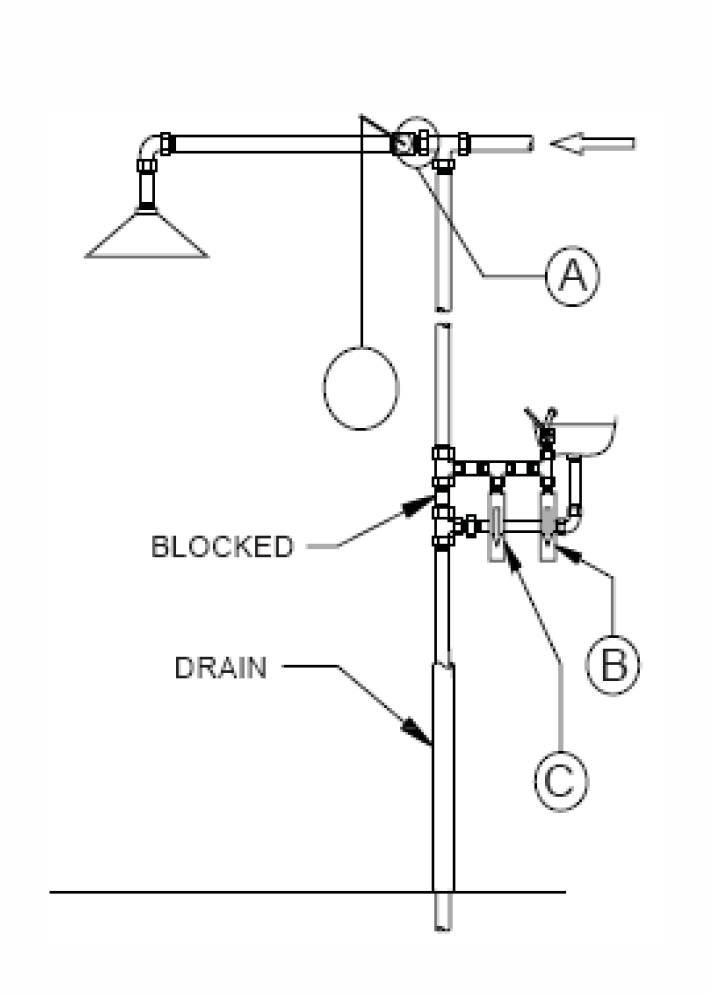
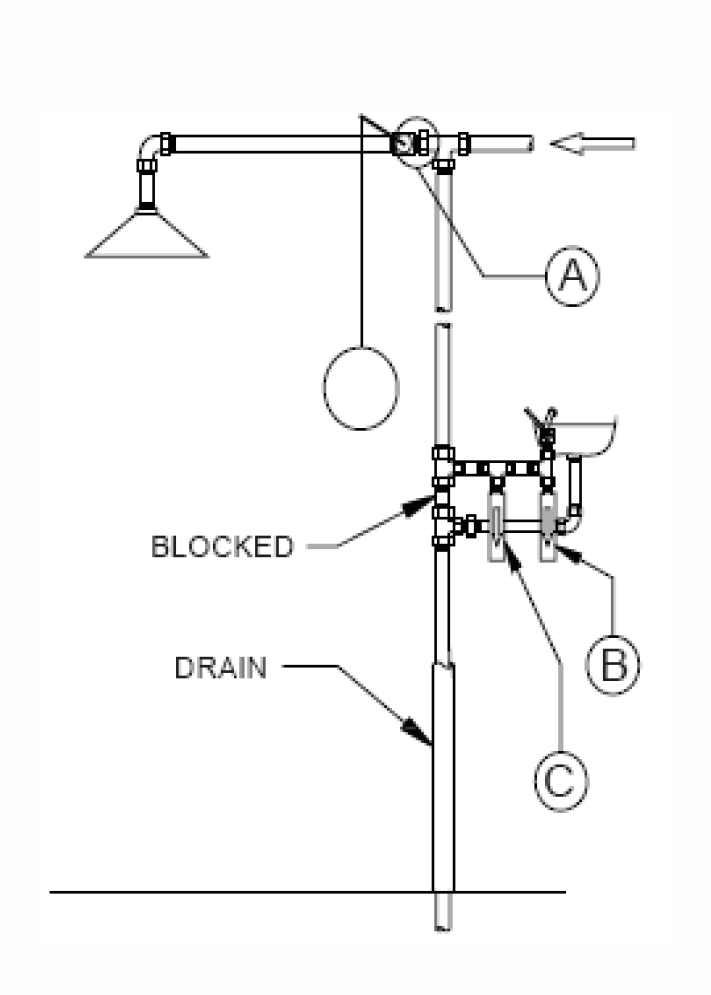
ON SAFETY SHOWERS AND EYEWASH STATIONS:
Always keep pipe length short (with close nipple) between inflow piping and operating valve (see A) and place FP valve close to the operating valve (see B).
REMBER: It is the flow of water that keeps the pipe from freezing (even short dead legs will freeze in severe conditions). SP valves are used to purge over-temperature water from the inlet pipe system. This keeps the shower piping filled with cooler water. Solar heating is the most common source of heating in remote installations. ALWAYS place the valve in the system as close to the point of use as possible. (see C). NEVER place the valve in the shade or in a cool place by comparison to the piping system, etc. Keep in mind that the valve itself has to heat up to open.

CAUTIONS
Use only standard and proper connections
? Do not over-tighten connections
? Always test after installation and before use
? Always test before winter and summer seasons
? Test at regular intervals
TO TEST FOR OPERATION WHILE IN LINE
FP VALVE: Cool with freon, CO2 or ice and water slurry. Valve will start to run or drip until warm water reaches actuator.
SP SCLAD PROTECTION VALVE: Heat inlet line and valve with electric heat gun or torch (if explosion hazard permits). Heat until valve flows to purge hot liquid.
TO TEST FOR PROPER SET POINT
FP VALVE: Remove from system and place entire valve in an ice and water slurry at 1°C. The valve should open fully within 5 minutes. Move the valve to an ice and water slurry at 6°C. The valve should close bubble tight.
SP OVERTEMPERATURE VALVE: Remove from system and place entire valve in water bath at upper limit of valve temperature range. Valve should open fully. Place in water bath at low end of range. Valve should close to bubble tight.
Safety is more important than anything in emergency shower/eye wash system. Freeze Protection by electric tracing or auto air release valve has to be considered explosion resistant (because of with electricity).
It should be understood that the use of these valves is not a substitute for regular and routine scrutiny of safe conditions. Installation and use of this product is outside the control of our company and is the sole responsibility of the end user. WINNING THERMO CONTROL EQUIPMENT CO., LTD. makes no guaranties, either expressed or implied, in connection with its installation or use.
Notes
1. Seal material: EPDM, Viton available
2. All FPV valves are covered by 18 months warranty
3. A #20 mesh strainer is recommended
Western Yard, Yard No. 18, Babeicun, Taiyanggong, | Tel:86-10-8404-4009 | Website:www.valcoo.com
Contact usBeijing Winning Thermo Control Equipment Co., Ltd
亿网中国 网站建设