Home>Application>Emergency Shower

* Brass body and thermal element
* Narrow temperature band
* Compact, low mass - Fast response
* Ram-type plug for reliable tight shutoff
* Sensitive to fluid temperature only
* Unaffected by pressure variations
* Easy installation with pipe wrench
* Discharges the minimum amount of water required to keep water temperature within safe limits

Operation
Under normal operating conditions, water passes through a virtually unobstructed DN25 or larger tee pipe, allowing this valve to be used in higher flow lines. The DN15 SPV will screw into any DN15 threaded opening with adequate internal clearance. When the water temperature rises above safe limits, and a danger of scalding exists, the thermal actuator located in the fluid stream modulates the valve open. When the water temperature returns to the safe range, the valve then modulates closed, minimizing water loss. Due to the actuator's placement in the fluid stream this valve is unaffected by ambient air temperature and is open at 41°C and will remain open until water temperature is 35°C.
Application
Solar radiation or overheating caused by steam or electric tracing can cause extremely high temperatures at the point of use, resulting in a safety hazard for plant personnel. When installed in safety showers, eyewash stations, and other locations exposed to the same source of overheating as the system, the SPV will be heated just as the pipe system. The valve will open to establish flow until the overtemperature water is eliminated and it will then modulate closed.
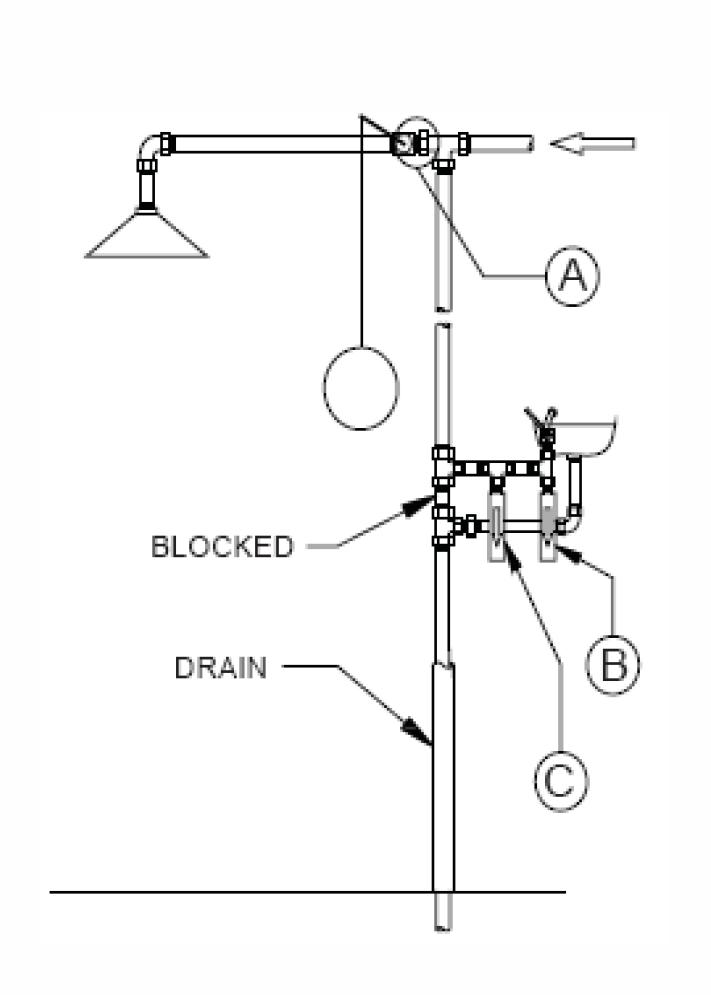
ON SAFETY SHOWERS AND EYEWASH STATIONS
Always keep pipe length short (with close nipple) between inflow piping and operating valve (see A) and place FP valve close to the operating valve (see B).
REMBER: It is the flow of water that keeps the pipe from freezing (even short dead legs will freeze in severe conditions). SP valves are used to purge over-temperature water from the inlet pipe system. This keeps the shower piping filled with cooler water. Solar heating is the most common source of heating in remote installations.
ALWAYS place the valve in the system as close to the point of use as possible. (see C).
NEVER place the valve in the shade or in a cool place by comparison to the piping system, etc. Keep in mind that the valve itself has to heat up to open.

Notes:
*Seal material: EPDM, Viton available.
Western Yard, Yard No. 18, Babeicun, Taiyanggong, | Tel:86-10-8404-4009 | Website:www.valcoo.com
Contact usBeijing Winning Thermo Control Equipment Co., Ltd
亿网中国 网站建设